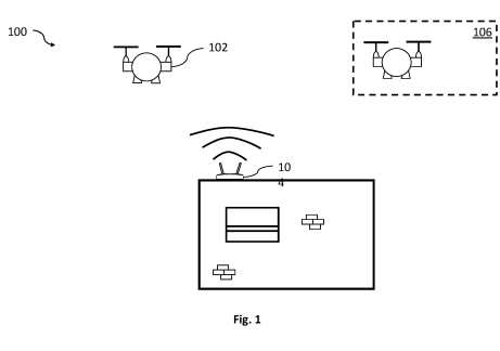
It's been a quiet year but one of my achievements was the grant of a patent that seeks to utilise future ubiquity of autonomous aerial vehicles to improve cyber security assessment.

An Unmanned Aerial Vehicle, UAV, configurable to: incidentally collect wireless network data at a first level of detail; send the wireless network data to a controller; in response to receiving an instruction from the controller, collect wireless network data from the wireless network device at a second level of detail higher than the first level of detail; and send the wireless network data at the second level of detail to the controller.
Specifically, the invention combines measurements with geospatial markers in order to ascertain normal pattents of behaviour and conduct wireless vulnerability assessments.